バイオメカニズム学会に参加して(2)

生体計測の最新技術

  今回の学会報告の中で、主に使われていたセンサとして以下のようなものがありました。 いずれも最新の先端技術が使われています。 これらについて紹介します。
    • 6軸力覚センサ
    • 筋電センサ
    • フォースプレート
    • モーションキャプチャー

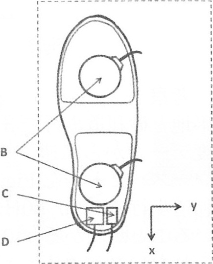
6軸力覚センサーの靴への装着

6軸力覚センサ

  6軸というのは、X・Y・Zの3軸方向の力と、それぞれの軸回りのトルクの合計6つになります。 これらの信号を一つのセンサで同時に計測します。 トルクを測らない3軸力覚センサというのもあります。
  「力覚」は「りきかく」と読むそうで、私も今回初めてこんな単語があるのを知りました。 調べてみると産総研のホームページに語句の説明がありました。
  学会で多く使われていた6軸力覚センサは、右上の写真に示したもので、ATI社という米国の会社のものです。 直径45mm、重さ90gで、約120sの荷重まで測れます。 こういうものは、まだまだアメリカの方が優れてますねぇ。 価格は1個80万円ほどするそうです。
  これを靴の中に仕込んで、歩くときの力やトルクの時間変化を計測することができます。(上図左のB)

筋電センサ

  筋電センサはいろいろなタイプがありますが、バイオメカニズムで使われているのは表面筋電位計で、これは皮膚の上に張り付けるものです。 ぶすっと針で刺す穿刺タイプもあり、こちらの方が計測精度が高く、しかも深層の筋の電位も測れるので有利ですが、倫理上の問題もあって一般には表面タイプのものしか使用されないそうです。
筋電センサの装着方法   我々が学生の頃(30年ほど前になります)は筋電センサというのは歪みゲージみたいな形をしており、しかも少しでも電気の通りを良くするために皮膚の表面をサンドペーパーで削ってから貼ったりしていました。
  今の最新式はバッテリ内蔵ワイヤレス式になっています。 これを、左の写真のようにバンドで固定します。(装着した写真はワイヤレスタイプのものではありません。)

フォースプレート

  フォースプレートは6分力(3方向分力と3軸回りのモーメント)計測はもちろんのこと、荷重分布や重心位置も測ることができます。 大きな靴屋さんやスポーツショップに行くと、計測器が置いてあってただで計測してくれるところもあります。
  今回の学会ですごいなと思ったのは、靴に装着したりトレッドミルに組み込んだりして、歩行時の計測ができることです。 右の写真では靴のつま先とかかとにフォースプレートが装着されています。 下の写真は、フォースプレート内蔵型のトレッドミルです。

モーションキャプチャー

  モーションキャプチャーは、テレビ番組で、車が衝突したときの中の人形の動きやスポーツ特番で一流選手の動きを紹介するときに出てくるので、馴染みがあるのではないでしょうか。 身体にピンポン玉みたいなのをいっぱい着けてカメラで撮影するやつです。
  最近のすごいのは、リアルタイムで撮影対象の計測ができ、動きをその場でグラフ化できることです。 さらに、計測データを筋骨格モデルに置き換えて解析したりすることもできます。
  画像センサもさることながら、画像解析処理ソフトの進歩はすごいものがあります。

データは取れるけど・・・

  以上のような計測技術の進歩のおかげで、容易に高精度で数多くのデータを取ることが可能になっています。 ところが、取ったデータを解釈したり考察したりする頭(脳の働き)の方が、全く追い付いていませんでした。
  例えば、ある研究で、中腰から立ち上がるときにお尻や太ももの裏側の筋肉の活動が全く見られないというデータが取れていました。 臀部や太ももの裏側の筋肉が働いていないのに、股関節が伸展する(腰が伸びる)理由が分からんと、侃侃諤諤でした。 しかし理由は簡単で、膝が伸展する反作用(角運動量保存の法則)で腰が伸びているのです。 事実、膝を伸ばすための太ももの前面の筋肉には筋電が出ていました。
  また、ある研究では高度なモーションキャプチャーを使っているにもかかわらず、肩関節の運動における体幹の影響が分からんという報告をしていました。 腕を回すときに身体が傾くと正確な肩関節の運動が解けないという理由です。 しかし、そのようなことはありません。 取得したデータの時間微分を取れば簡単な話です。
  とにかく、データの読み方やせっかく取ったデータの評価が成っていない報告が、非常に多く見受けられました。 もちろん全部の報告を聞いたわけではありませんが、2日間聴いて‘おーすげー’と思ったのはたった1件だけでした。

  どうしてこうなるかというと、前回述べた学会のいびつさが原因ではないかと思います。
  主要大学が入って来ないと、どうしても研究の質は低下します。 研究の方向性や目のつけどころを的確にアドバイスできる先生や、それを正しく理解して実践できる研究者や学生が限られてしまうからです。
  もう一つは企業がいない点。 企業は製品を完成させないと商売になりませんから、限られたコストで限られた時間内に求められた成果を出す必要があります。 取得したデータは貴重な財産ですから、そこから何が得られるか、社外の有識者の知恵も使って徹底的に検討します。 大学だけだと、どうしてもそういうシビアさに欠けてしまいます。

  学会の全容を見たわけではないですし、たまたま今回の参加者に偏りがあっただけかもしれません。 1回参加しただけでは分からないとは思いますが、少なくとも今回の講演会に対する率直な感想です。
  次回は、別の視点からの面白い話(長年のバイオメカニズムの研究で最近ようやく見えてきたこと)を準備していますので、お楽しみに。


上の写真は、以下のメーカーのカタログから拝借しました。
 • ATI Industrial Automation http://www.ati-ia.com/
 • (有)追坂電子機器 http://www.oisaka.co.jp/
 • (株)テック技販 http://www.tecgihan.co.jp/
図は「第33回バイオメカニズム学術講演会(SOBIM 2012 in Sendai)講演予稿集」から転載しました。